DYM3型空盒氣壓表是以變形元件作感應的一種大氣壓測量儀器。它以攜帶方便、測量準確,測壓范圍廣、使用維護簡便、無汞污染等優點,廣泛地應用于氣象、軍事、航空、航海、農業、測量、地質、工礦企業和科研等**域,成為測量大氣壓力的常規儀器。
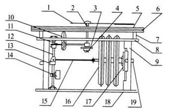
儀器結構:
序號
零部件名稱
序號
零部件名稱
1
指針
11
扇形齒輪
2
指針軸
12
中間軸
3
游絲
13
調節螺釘
4
指針軸托板
14
配重塊
5
表盤
15
連接桿
6
反光鏡
16
空盒組
7
表盤固定柱
17
調節器
8
上托板
18
下托板
9
托板固定柱
19
安裝螺釘
10
溫度表

工作原理:
空盒氣壓表是以彈性金屬做成的薄膜空盒作為感應元件,它將大氣壓力轉換成空盒的彈性位移,通過杠桿和傳動機構帶動指針。當順時針方向偏轉時,指針就指示出氣壓升高的變化量,反之,當指針逆時針方向偏轉時,指示出氣壓降低的變化量。當空盒的彈性應力與大氣壓力相平衡時,指針就停止轉動,這時指針所指示的氣壓值就是當時的大氣壓力值。
使用方法:
5.1 使用時請將空盒氣壓表水平放置。
5.2 讀數前用手指輕輕扣敲儀器外殼或表面玻璃,以消除傳動機構中的摩擦。
5.3 觀察時指針與鏡面指針相重疊,此時指針所指數值即為氣壓表示值,讀數準確到小數一位。
5.4 讀取氣壓表上溫度表示值,準確到小數一位。
5.5 氣壓值的求算:儀器上讀取的氣壓表示值只有經過下列訂正后方能使用。
5.5.1溫度訂正:由于環境溫度的變化,將會對儀器金屬的彈性產生影響,因此必須進行溫度訂正。溫度訂正值可由下列計算:
△Pt = a.t
式中: △pt——溫度訂正值
a――溫度系數值(檢定證書上附有)
t――溫度表讀數
5.5.2示度訂正,由于空盒及其轉動的非線性,當氣壓變化時就會產生示值誤差,因此必須進行示度訂正。求算方法:根據檢定證書上的示度訂正值,在氣壓表示值相對應的氣壓范圍內:用內插法求出值訂正示值△PS。
5.5.3補充訂正:為消除空盒的剩余變形對示值產生的影響,從檢定證書上得到的補充訂正值△pd
經訂正后的氣壓值可由下式示出:
P = ps + (△pt +△ps +△pd)
注意事項:
6.1 儀器工作時必須水平放置、以防止傾斜造成的讀數誤差。
6.2 使用者切勿將塑料外殼內儀器取出,以免造成不必要的損壞。有故障時請交氣象計量機構或工作原理。
6.3 由于儀器的補充訂正值隨時間而改變,因此補充訂正值不得**過六個月使用期限,**過時必須重新進行檢定。
6.4 使用者不得擅自調動調節螺釘,以免增加儀器的誤差。
保管運輸:
7.1 儀器應存放在干燥、空氣流通、無腐蝕氣體和劇烈震動的地方。
7.2 儀器可采用除空運外的其它任何運輸方法。
7.3 儀器包裝箱內必須填以減震物,箱外應標注“小心輕放”“精密儀器”“不可倒置”等字樣。
配置清單:
序 號
名 稱
數 量
單 位
1
空盒氣壓表
1
臺
2
產品使用說明書
1
份
3
產品出廠合格證書
1
份
4
儀器盒
1
個
測量范圍
800~1064hPa
使用溫度范圍
-10~+40℃
示度盤最小分度值
lhPa
附溫表最小分度值
1℃
儀器重量
<1.5Kg
儀器尺寸
156×156×115(mm)
經過溫度、示度和補充訂正后的測量誤差不大于2.0hPa
廣泛地應用于氣象、軍事、航空、航海、農業、測量、地質、工礦企業和科研等領域,成為測量大氣壓力的常規儀器。


